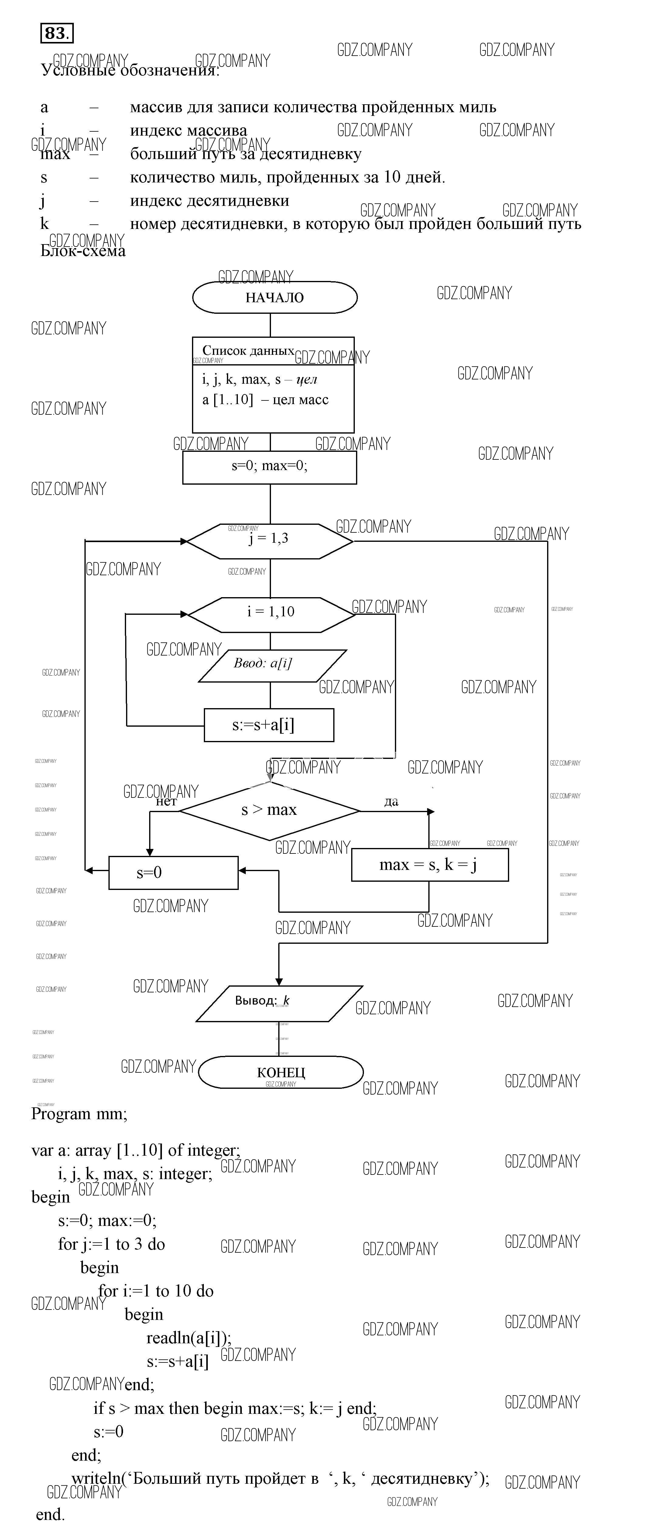
Решебник
задание / 83
Здесь готовые ответы по Информатике за 9 (девятый) класс от Босова Рабочая тетрадь Базовый и углубленный уровень (издательство: Бином от 2017 г.) № 83 Базовый и углубленный уровень