Решебник
часть 1 / 29
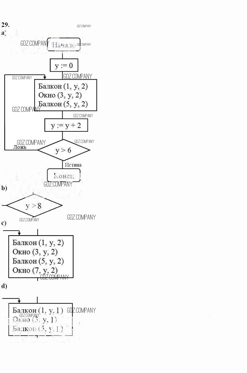
Здесь готовые ответы по Информатике за 4 (четвертый) класс от Бененсон, Паутова Тетрадь для самостоятельной работы Перспективная начальная школа (издательство: Академкнига от 2018 г.) № 29